You can not select more than 25 topics
Topics must start with a letter or number, can include dashes ('-') and can be up to 35 characters long.
1.8 KiB
1.8 KiB
会员管理与用户画像
::: note 会员价值 会员体系是提升用户粘性、优化运营决策的核心工具。通过管理会员,您可以更精准地进行活动推送。 :::
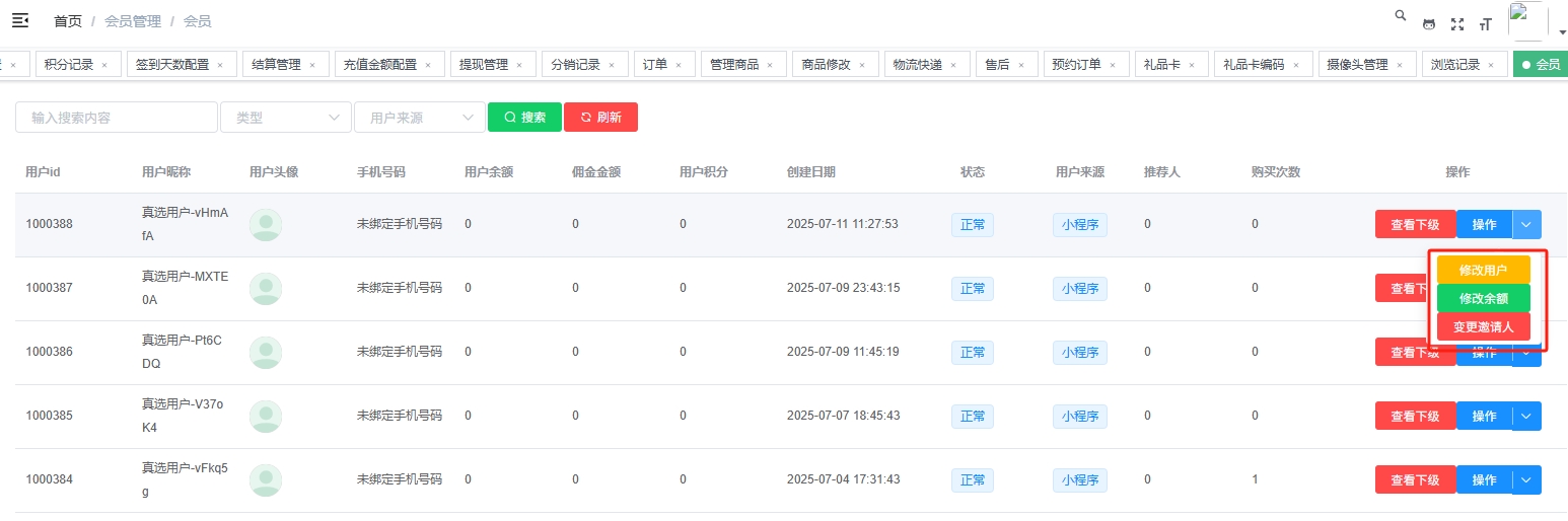
1. 会员信息管理
系统自动整合各类用户数据,方便您进行全维度的会员维护:
- 基础档案:包含姓名、联系方式、登录记录、来源及推荐人。
- 财务状况:实时查看会员的佣金余额、积分余额。
- 关系网络:支持查看会员的上下级关系及推荐体系。
- 后台权限:支持手动变更邀请人及调整会员余额(需经过内部流程)。
2. 会员行为追踪
通过行为数据沉淀用户画像,为个性化营销提供依据。
- 浏览记录:实时记录用户的足迹(查看商品、详情页访问等)。
- 购物行为:记录加入地址、购物车调整、下单支付及售后操作全过程。
3. 会员商品收藏
收藏功能帮助用户暂存心仪商品,商家可通过此数据分析商品潜能。
- 用户侧操作:在小程序商品详情页直接点击“收藏”。
- 管理侧应用:分析收藏数据的变化,优化推荐策略。
4. 用户账单明细
透明的账单体系是建立信任的基础。您可以追踪任何一笔资金变动:
- 变动类型:充值、消费、退款、佣金发放及扣除。
- 积分轨迹:积分的获取途径、消耗记录及有效期。



